1級建築施工管理技士 過去問
令和7年(2025年)
問7 (午前 ロ 問1)

このページは閲覧用ページです。
履歴を残すには、 「新しく出題する(ここをクリック)」 をご利用ください。

問題

1級建築施工管理技士試験 令和7年(2025年) 問7(午前 ロ 問1) (訂正依頼・報告はこちら)

次に示す断面形状の室において、風が矢印の向きで左から右に一様に吹いている場合、自然換気による換気効率が最も良いものはどれか。
ただし、室温は外気温より高く、開口部の形状寸法はすべて同じものとする。
  • 解答選択肢の画像
  • 解答選択肢の画像
  • 解答選択肢の画像
  • 解答選択肢の画像

次の問題へ

正解!素晴らしいです

残念...

この過去問の解説 (1件)

01

換気効率が最も良いのは、 です。


風は左から右へ吹くので、左側(風上)は空気が入りやすく、右側(風下)は空気が出やすくなります。さらに室内は外より温かいので、温かい空気は上にたまり、上から出すほうがよく換気できます。

選択肢1. 解答選択肢の画像

開口部が上側と下側に分かれており、空気の出入りが複雑になりやすいです。

 

風上側の上部開口から入った空気が天井付近だけを流れて

風下側の上部開口へ抜けるなど、室内全体を通りにくい流れが起こりやすく、

換気効率が最も良い形とは言いにくいです。

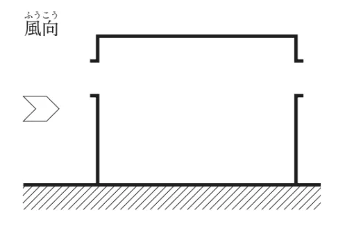
選択肢2. 解答選択肢の画像

左右とも上のほうに開口部がある形です。

 

風による通風は起こり得ますが、空気が上のほうだけを通りやすく、

床付近の空気が入れ替わりにくくなります。室温が高い条件では、

下から入れて上から出す形のほうが有利です。

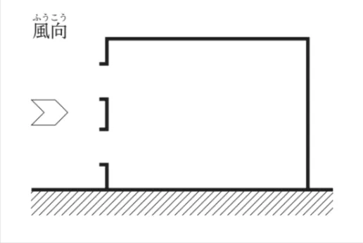
選択肢3. 解答選択肢の画像

正解です。

 

ポイントは次の2つです。
・左側(風上)の下の開口から空気が入りやすい(風圧(ふうあつ)の利用)
・右側(風下)の上の開口から空気が出やすい

 (風下は負圧(ふあつ)になりやすく、さらに温かい空気は上に集まる)


つまり、下から新しい空気を入れて、上から温かい空気を出す流れになり、

室内全体を通る換気になりやすいです。

選択肢4. 解答選択肢の画像

開口部が片側に偏っており、風上と風下を使った通り抜けの流れが作りにくいです。

 

空気の出入りが近い場所で起こりやすく、室内全体の空気が動きにくくなります。

まとめ

自然換気で効率を上げるコツは、風と温度差を同時に利用することです。


この条件では、左が風上、右が風下、そして室内は外より温かいので、

風上の下から入れて風下の上から出す形がいちばん換気効率が良くなります。

参考になった数49